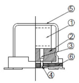
电容式感应电动机有两个绕组,即启动绕组和运行绕组。两个绕组在空间上相差90度。
在起动绕组上串联一个大容量电容器。当运行绕组和起动绕组通过单相交流电时,由于电容器的作用,起动绕组中的电流从运行绕组的电流提前90度。
最大价值。在时间和空间上形成两个相同的脉冲磁场,从而在定子和转子之间的气隙中产生旋转磁场。
在旋转磁场的作用下,在电动机的转子中产生感应电流,并且电流与旋转磁场相互作用。电磁场扭矩使电动机旋转。
无论电容器的类型如何,它在电机启动开始时都有一个启动动作。但是,当电机达到额定速度的约75 [%]时,启动电容器会通过离心开关自动断开,运行电容器继续与电机一起工作。
启动电动机的过程实际上是“柱相”的过程。由于单相电动机与三相电动机不同,因此没有相位差,不能产生旋转磁场。
电容器的功能是使电动机的起动绕组电流在时间和空间上,使运行绕组的90个电角度形成相位差。其中,工作电容器还起到平衡初级和次级绕组之间电流的作用。
启动电容是短时操作,耐压要求高于250V。运行电容器必须长时间工作,并且要求耐压高于400V。
“电动粉碎”是什么意思?这取决于它是普通电动机还是异步电动机。在前者中,其电容是速度调节,一般只有几个UF,后者电容器正在运行,大多低于20UF。
当然,也有大的,主要取决于电机的功率。关于“烟雾”的问题,应该是电动机的电流太大,绕组太热而不能短路,并且问题不是电容器。
电容器的短路故障很少见到烟雾,有时它会闻到一种特殊的气味。对于您的电机类型,几乎没有任何配件无法购买。
电容通常只需几元钱或更多。修理技术要求不高,普通电机维修人员通常可以解决这个问题。
<br> <br>电容启动马达可分为电容分相启动马达和永久分相电容马达。结构简单,启动快,速度稳定。
它广泛用于家用电器,如电风扇,排气扇和抽油烟机。电容器分相电动机的定子绕组设有主绕组和次级绕组(起动绕组),在起动绕组中设置大容量启动电容,使主绕组和辅助绕组产生电压相位通电后差异接近90°,从而产生更大的启动转矩使转子开始运转。
永久分离电容器电动机在通电和正常操作期间与启动绕组串联连接。由于永久分离式电动机的启动转矩小,因此适用于排气扇和排气扇等电器。
电容启动电机,运行绕组分为正相和负相连接设置。只要切换运行绕组和起动绕组的运行方向,电机就可以反向和正向运行。
公司: 深圳市捷比信实业有限公司
电话: 0755-29796190
邮箱: tao@jepsun.com
产品经理: 陆经理
QQ: 2065372476
地址: 深圳市宝安区翻身路富源大厦1栋7楼

更多资讯
获取最新公司新闻和行业资料。
- 显示器启动电容 铝电解电容出了故障——这就是问题所在。这是一个坏消息。但好消息是,当铝电解电容发生故障时,很容易发现。电脑显示器使用的AC主电源适配器出现问题就是这种情况。几个星期前,我太太的电脑显示器开始间歇性地出现状...
- 冰箱启动器热敏电阻芯片 冰箱常用的起动器是PTC起动器和重锤式启动器。 PTC起动器是一种特殊的热敏电阻,其正常电阻值为18至30Ω。当电阻体被启动电流加热时,电阻体的电阻值迅速增加,并在高温下保持高电阻值。&...
- 超级电容器在混合动力车与启停系统中的创新应用 超级电容器在混合动力车与启停系统中的创新应用超级电容器因其卓越的充放电速度、超长循环寿命和高功率密度,正逐渐成为混合动力汽车(HEV)与自动启停系统的核心储能元件。相较于传统蓄电池,超级电容器在能量回收、...
- 启动电容的作用 启动电容是一种电器元件,通常被用于单相交流电机的启动过程中。它能够提供瞬时高电压来帮助电机启动并达到额定转速,同时也承担着电机运行期间补偿无功功率的角色。1.启动电容的作用在交流单相电机中,由于工作原理的...
- 启动电容的作用 充电和放电。它是一种用于启动单相异步电动机的交流电解电容器。流过单相电机的单相电流不能产生旋转磁场。启动电容器需要使两个绕组中的电流产生接近90度的相位差,以产生旋转磁场。当起动电容...
- 启动电容的原理是什么 流过单相电机的单相电流不能产生旋转磁场,因此应使用电容器进行分相,以使两个绕组中的电流产生接近90°的相位差,从而产生旋转磁场。 电容感应电动机有两个绕组,即起动绕...
- 220伏家用潜水泵电容启动方法探讨 在处理220伏家用潜水泵的电容接法时,我们首先需要了解潜水泵电机的工作原理。对于单相电动机而言,它无法自行产生旋转磁场,因此需要借助电容来帮助启动。在连接电容时,应将其与启动绕组串联,并确保电容质量良好且...
- 220伏电机启动电容的计算方法 在计算用于220伏电机的启动电容时,首先要明确电机的功率、转速以及所需启动扭矩等参数。一般而言,启动电容的大小直接影响到电机启动时的性能,包括启动扭矩、启动时间及是否能顺利启动等。电容值(C)的选择可以基于...
- 如何检测220伏电机启动电容的好坏 要检测220伏电机启动电容的好坏,可以通过以下步骤来进行:1. 断电检查:首先确保电机和电容完全断开电源,并且电容已经充分放电。直接处理电容可能造成触电危险。2. 外观检查:检查电容是否有明显的物理损伤,如鼓包、...
- “220伏单相电机为何需要配备启动电容” 在探讨电力驱动设备时,单相交流电机因其结构简单、成本低廉、维护便捷等优点,被广泛应用在各种家用电器及小型工业设备中。然而,对于这类以220伏单相电源供电的电机,一个常见且必要的辅助元件就是电容,尤其是启动...
- 220伏电机在没有电容的情况下启动的可能性探讨 对于220伏电机而言,是否能够启动取决于其类型以及设计。单相交流电机通常需要电容来产生旋转磁场,从而实现自启动。如果没有电容,某些类型的电机(如电阻启动型电机或直接启动型电机)可能无法自行启动,或者启动转...
- 如何选择合适的软启动负载开关?关键参数与选型指南 软启动负载开关选型全攻略:从参数到实际应用面对市场上种类繁多的软启动负载开关,工程师在选型时需综合考虑电气性能、封装尺寸、成本与系统需求。以下为一套完整的选型指导框架,帮助您精准匹配最佳方案。1. 核心电...
- 汽车级超级电容器在启停系统与能量回收中的创新应用 汽车级超级电容器:智能动力系统的能量缓冲专家超级电容器凭借其超快充放电速度、高循环寿命和优异的低温性能,正逐步成为汽车启停系统、再生制动能量回收及瞬时功率补偿的核心组件,尤其适用于对响应速度要求极高的...
- 如何选择适合MCU的低侧栅极驱动器与低功耗H桥驱动器? 选型指南:基于MCU系统的低侧栅极驱动器与低功耗H桥驱动器在设计以MCU为核心的电机或电源控制系统时,合理选择低侧栅极驱动器与低功耗H桥驱动器是确保系统性能与可靠性的关键。以下从多个维度进行分点分析,帮助工程师做...
- 深入解析负载开关与软启动负载开关的技术原理及应用优势 负载开关与软启动负载开关的核心技术解析在现代电子系统设计中,电源管理模块的性能直接影响设备的稳定性和寿命。负载开关(Load Switch)和软启动负载开关(Soft-Start Load Switch)作为关键组件,广泛应用于智能手机、可穿戴...
- 低侧栅极驱动器与低功耗H桥驱动器在MCU控制中的应用解析 低侧栅极驱动器与低功耗H桥驱动器在MCU控制中的核心作用在现代嵌入式系统中,尤其是电机控制、电源管理及智能设备领域,低侧栅极驱动器(Low-Side Gate Driver)与低功耗H桥驱动器(Low Power H-Bridge Driver)结合MCU(微控制器单元)...
- 超级电容器在汽车启停系统中的应用与汽车级设计标准解析 超级电容器在汽车启停系统中的应用与汽车级设计标准解析近年来,汽车启停系统(Start-Stop System)已成为提升燃油经济性、降低排放的重要技术手段。在这一系统中,超级电容器因其卓越的充放电性能和长寿命,正逐步取代传统...
- 如何选择合适的单相BLDC马达驱动器与预驱动器?实用指南与选型建议 选型关键因素全面分析在实际应用中,正确选择单相BLDC马达驱动器与预驱动器,直接影响系统的稳定性、效率和使用寿命。以下是几个核心考量维度:1. 电机参数匹配必须确保驱动器的额定电压、电流与电机规格一致:电压范围...
- 单相BTL线性驱动器与单相BLDC驱动器的技术对比与应用解析 引言:驱动器技术的演进与选择随着电机驱动系统在工业自动化、消费电子和新能源领域的广泛应用,驱动器技术不断革新。其中,单相BTL(Bridge-Tied Load)线性驱动器与单相无刷直流(BLDC)驱动器因其高效性与灵活性,成为当前...
- 线性LED驱动器与低电压DC-DC LED驱动器的技术对比与应用解析 线性LED驱动器与低电压DC-DC LED驱动器的核心差异在现代照明系统中,LED驱动器的选择直接影响到能效、稳定性与整体成本。线性LED驱动器和低电压DC-DC LED驱动器是两种主流技术,它们各有优劣,适用于不同场景。一、线性LED驱动...